
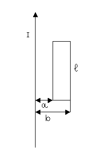
Un filo molto lungo è percorso da una corrente di intensità I = I0 sin ωt, con I0 = 1 A e ω = 10π (rad/s). Sullo stesso piano del filo giace una spira di forma rettangolare con due lati lunghi l = 1 m paralleli al filo e posti, rispettivamente, a distanza a e b = 2a, e gli altri due perpendicolari al filo, come è mostrato in figura. Determinare:
Sei cariche puntiformi di intensità
si trovano, vincolate, nei vertici di un esagono regolare
di lato a = 1 m. Una settima carica puntiforme q = -Q, di massa
m = 10-3 kg, si trova sulla verticale
passante per il centro dell'esagono ad una altezza a.
Determinare:
Ad un certo istante, la carica q viene lasciata libera di muoversi. Determinare:

Il circuito di figura è costituito di due tratti radiali e di due archi di circonferenza (raggi r e R, angolo al centro θ), con centro P, situati nel piano [i, j].
Calcolare:
Per la legge di Biot-Savart il modulo dell'induzione magnetica B(t) al tempo t e
a distanza r
da un lungo filo rettilineo percorso dalla corrente I è
. Nella situazione proposta il vettore B è
sempre perpendicolare al piano della spira; in particolare, se la corrente scorre verso l'alto,
il vettore B ha verso entrante e viceversa. Dato che B dipende solo
dalla distanza r dal filo, si può pensare di scomporre l'area del rettangolo in
'strisce' rettangolari di altezza l e base dr.

Indicando con n il versore normale alla superficie diretto verso chi guarda,
il flusso di B per uno di questi rettangolini risulta
e
il flusso su tutta la superficie è
![]()
Per la legge di Faraday la f.e.m. è data da
![]()
La potenza istantanea del circuito è
e il suo valor medio in un periodo è
dove
![]()
Un periodo è
e quindi l'energia dissipata in un periodo è
da cui


Considerando le coppie di cariche positive simmetriche rispetto al centro dell'esagono, si può lavorare su un piano verticale che contiene le due cariche positive e quella negativa. In questa situazione, le componenti delle forze coulombiane esercitate dalle cariche positive sulla carica negativa parallele al piano dell'esagono si annullano a vicenda, mentre quelle perpendicolari si sommano. L'angolo fatto dalla forza esercitata da ogni carica positiva rispetto alla verticale è di 45°, quindi la forza totale esercitata sulla carica negativa è diretta verso il centro dell'esagono e ha modulo

L'energia potenziale del sistema in questa situazione è data dalla somma dell'energia potenziale delle cariche sul piano più l'energia potenziale della carica - Q. Quindi

è nullo sui tratti radiali. Ogni singolo tratto
dl di arco circolare di raggio x genera un contributo dB
all'induzione magnetica in P di modulo
e quindi un arco di ampiezza θ produce un contributo
totale
![]()
L'arco interno genera induzione di verso +k mentre quello esterno genera induzione di verso -k. L'induzione risultante è quindi